留学早知道----2021年中国普通高考各批次录取分数线分省份汇总(实时更新)(2021高考录取分数线一览表各省一样吗)
现在,大部分的高考院校的分数已经开始公布和确定了,大部分省份就是这两天出分的了,最早的安徽,这边已经在今天上午公布了分数线。说真的,看情况的话,今年还是有一定的上浮。但是上浮幅度是比较小的。
然后,我要是针对于今年新高考的情况,现在要看一下具体就是每一个专业项目组的所要分数的情况。
现在看,安徽这边的整体,去年的分数线还是和今年有差异的,我看了一下,基本上去年文科的分数要的很低,但是,今年文科的这些要的比较高,说白了就是今年文科题还是简单了。
这下看出来了,今年很可能文科的分数线,各省市会有一个比较大幅度的上涨。因为就是安徽可能是小一些浮动,其他的省份我看了一下,有可能,就是像高考大省的那些很有可能要非常高。文科今年没有什么难度,数学也是比较简单的一些规定题目,所以我觉得有可能会有一个井喷的情况。

下面,实时更新一些高考省份的分数线的具体的要求:


江西省的分数线也是有一些上浮,说明还是今年高考对文科生是真的要考验,说句实话,今年对文科生确实是太不友好了,今年文科的分数线整体提升了非常大的幅度。我觉得,如果今年报纯文科类的肯定是会受到影响比较大了。看起来,一批的整体也是逼近了最高的档次,所以就是高分段考生没有拉开,所以,今年重本院校的层次可能要分很精准,要高,最好选择调剂会理想一些,本二的分数不高很多,还是能接受的范围,所以,说明中等分数段和最高的分数的学生都是扎堆。


上面的是广西的分数线,说真的,艺术类的还好,但是要是看一批的这个文科和理科,不走新高考的途径的省份,是真的太吓人了,就是理科属于是可能竞争力不高,选择理科的人数还是少一些,毕竟物理化和数学就业没有那么广泛,但是你要是选择文科考试和学习的,今年这个难度就是会导致高分数的人扎堆,中等分数的人扎堆,就要把分数往上提了。

云南这个一批分数也是够吓人的,也是很高,说明还是属于可能大家对于这个高考的旧的考题都能更加适应了,毕竟就是这个应试的东西,按照非新高考的标准,问题都已经就那些知识点的,所以稍加注意即可考的很高,今年不论哪个省份,高分和中分段的一定是扎堆,所以要是分数线上线下徘徊的,不要志愿报考很高,要调剂,要选择冷门城市,专业,学校,然后也不要等着补录撞大运了,估计很多高分报不好志愿都等到补录了。


现在看,甘肃和内蒙,这些西部省份还是比较稳定的,没有太虚高的,所以,我觉得现在教育的倾斜还是要向西部的。否则后面压力更大。要不然就是这样的两个地区成绩分化有点严重。

吉林看起来还是比较稳定,正常和去年基本持平,太大浮动是没有的,比起安徽和江西,云南广西的那种,是要好很多,至少是中分段人数还是可观的,偏文科的基本进入旧高考的最后阶段的,所以肯定能包括在内的学生,都是一本,就不让这些人去继续复读了。
当然,也是低了至少二十分左右的水准,但是,和现在的整体学生的层次看,还是能接受的。
对于整体的报考志愿难度来说,没有变化,因为低了的话,如果大家都低就没有问题,我说的就是中分段人数还是多一些,那就说明大家都低,那报考志愿也没有影响,那反倒是如果这个分数看上去高分段的人多,这个分数线还这么低,那就麻烦了

新高考的第一个省份出来啦!看起来这个分数线不是很低的,但是感觉理科还是可能更多的对很多项目专业组的学生,要是物理学科的那种,要求不高,还是基本可以接受,本科的整体最低分数,基本是比以前要降低的,说明新高考的实践和理论结合考察是到位了,能够区分层次和学生水平,高分的考生,看起来文科带历史的还是多一些,感觉要是物理带两个文科专业的同学会比较吃香。


四川的分数看上去也是属于相对持平,和去年对比看还是基本合理,理科现在的分数都是有降低,但是文科分数增加是蛮多的,说明就是今年四川考生的考的整体高分人数偏多,作为也是西部人口的重要大省份,看起来确实教学质量要好很多,而且今年四川考生的本科文科的批次的分数跨度很大,要注意报志愿,一定要慎重选择调剂,调档了的话,会比较麻烦。

上面,这个是重庆的,今年的分数线,因为也是新高考的情况,这种看着还合理一些,就是正常的话,理科和文科的差距不是太大。基本上就是属于要是对于专业科目要求严格的院校或者是类别专业项目组的话。我觉得这个分数的差距说明在重庆这边,文理分科就好很多,没有那么的明显,达到了新高考综合发展的目的。


这个贵州的文科比理科高100分也是真厉害,现在文科类的真的没法学。基本上文史类的,看这个贵州的样子,基本上就相当于大家考的都很不错。即使是相对偏远的地区,可能大家对于这种旧题目下的都是熟悉的题型,所以再加上卷子的整体相关数学的难度不高,可能就不至于说很难达到标准,但是,因为理科的话,据说理综的里面生物还是比较难的。所以就是贵州的这个分数的差距也能凸显出来,现在文科的这种相关专业学起来或者是在高考里面是不吃香。
然后,陕西的这个就和甘肃或者是宁夏的比较相类似,今年西北地区因为实际上一二卷合并之后都会感觉相对难一些,包括内蒙古,所以说就是陕西现在也相对文科里面,语文和英语的难度使得分数低,中分段人群较多,利于报考志愿,理科的分数就更低了,现在大部分省份理科只要过了450分,就能去一个本科院校。


这比较出来了,山西作为高考大省,那是真的有点儿东西的,感觉就是文科和理科都不低,山西的教育质量感觉上去了呀!而且我觉得山西这个分数的话,说明高分段考生很多,而且去看本科一批和二批的差值是相对比较大的。这就说明实际上大部分的学生考的都很好,都是在前面的排位。所以我觉得山西可能报志愿,就可能比较难处理。
然后,黑龙江,我们就能看到,西北和东北的省份基本上今年很平稳,文史类和理工类的分数都不是特别的高,基本和去年保持整体的平稳,虽然是有一定的浮动。但是黑龙江的话,现在今年这个整体还是中分段,基本上四百多分就能去很好的二本,五百多分就能去一本名校,是很有可能的,理科都低到这个数,说明教学要提高,大家理综,数学和语文,英语都不理想。





上面天津的情况,好像这种天津这种填报除了要看本科的录取分数线之外,肯定还是要看一分一段表的,因为天津这边的话是实行的比较特殊的填报政策。
不过,看这个分数的话,今年平均分,语文,数学实际上都有降低,英语基本保持平稳。
所以,今年实际上天津的分数还是不高的。实际天津的考生,今年还是能够基本稳定的报志愿即可。一分一段表显示,今年高分段的学生还是多一些,那可能要注意不一本科线,高的不多的学生,就不要去选择太好的优势院校和专业。




我觉得还好,江苏第一次新高考的分数线也没有和之前差异特别大,但是看上去还是难,或者新高考的这些还是不太适应,所以,实际上今年高分段的也不会少,那么报考志愿的会也是要很谨慎才行的。
特殊类型招生也就是最高的项目组和专门针对的项目组里面的分数,真的也是不低,文科的还是难,对文科也是不友好。
湖南的这个本科和特殊类的这个分数差距,说明湖南还是中等分数人群多,当然,感觉现在文科都是得500大几十分才能去好学校。
湖南的这个新高考今年分数和去年差距也不会很大的,但是看上去就是理科和文科差距不大,还是能够看出,当地的孩子的综合能力的提高,然后就是看报志愿,还是理科比文科容易一些,而且确实现在文科的高要求,太难改变。




上面,放了两个绝对的大省的分数线,河北和河南今年的情况还都是比较稳定的,因为河北实际上新高考的卷子,大家也能够慢慢的去适应,因为去年就有一个调整了,所以说今年是比如历史类或者物理类的,大家结合起来去考,实际上也不会影响大家的基础,因为毕竟这个省份,高考机器,还是能够展现出它的综合的教学能力。
然后,我觉得就是像河北这样的省份,基本上看上去整个儿的批次之间的跨度还是比较大的,所以一定要注意报志愿的话,不要去突击,还是要稳一点。
河南,我们看到安徽那么高的分数,本来期待着河南可能要冲得很高,但是河南并没有那么高的哈,河南还是很稳定的保持在了这个水平,说明就是整体河南的考生在今年的发挥都不是理想的状态,毕竟可能是全国乙卷,合并之后题型和整体的解题思路,包括出题模式都改了,包括这个新知识点。
所以说,今年河南考生中分段的分数的还是比较的多,当然也不排除有高分段的情况,所以就是也是同样的,要按照之前的批次,可能不太合适的,就可以降低一些要求报志愿。

青海,这没有什么可说的,毕竟这个地方每年降低分数是很正常的。所以我觉得这个区域的,只要是你能够在正常的发挥了,我觉得本科就没有什么问题。


这是西藏自治区的具体分数,具体就不说,少数民族地区的学生还是蛮不容易的。

这个北京分数,看起来确实是越看越羡慕,真的基本本科400就行,那么多学校选择,高分段考生的看上去也不多。
而后,我觉得今年可能是不是北京的考生真的是越来越可以,就是感觉都考不到很高的分数,去年的普通本科线才430多分,今年,现在连400都差点上不去。
说明,现在的北京考生可能不太适应这种现在的高考的题目和环境。那么实际上我觉得今年的题目确实有一定难度,但是,也不至于到这个程度吧,还是人少,然后能选择的多,还是幸福的一代啊,教育公平没有那么简单,安徽考生估计再一次崩溃了。

海南的分数是比较正常的,分数线还是保持在比较普遍的本科的批次线没有降低和升高很多的感觉,然后看今年大部分的学生都是500左右的水准,说明海南的整体学生层次也有一定的教学提高的。

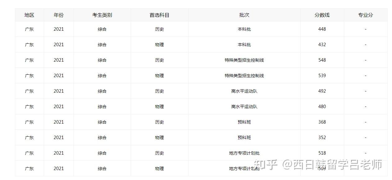
广东的分数着实也是高分大省,尤其是看到特殊类型的控制线,这个单独科目的控制线不低,说明就是高分段人数可是不少,不过文理差距不大,也是说明广东的文科混合理科科目的学生不少,还是比较符合新高考的标准和初衷的。不过,前后的这个差距100分的本科档次,使得报志愿的话,还是要稳定谨慎,别太过,也可以考虑冲刺一下好的院校志愿和专业。

湖北高考分数线已经公布,因为看上去确实,不得不说,湖北这个高考分数还是相对高的,尤其是对于去年的,或者是针对大家看,看上去还是蛮对文科继续不友好,而且这个典型就是新高考的到来,使得更多的人开始选择历史为主,然后加上两个理科的科目,或者是纯理科的科目的人少的很多,400不到的纯理科类,都是可以上本科了。
然后就是看特殊类型的,也就是单一项目组,这个我觉得也是够难的,这个高度几乎追平了河南,真心觉得这个新高考对于高考大省真的很难公平,文科太高了,也是和考的卷子大家新高考的新知识点,可以适应,教学质量还是强,也和简单有关系,不过我还是说大部分的分数应该还是在中分数段,高分人群还是不多的,希望大家好好报志愿,不要冲的太猛就是了。

山东的分数今年作为高考大省,但是高校资源丰富的省份,分数都是属于一直没有太大的变化的,普通本科的话基本看就是400多分就足够了,冲刺名校的也要在550+以上,和去年基本差距是很小的,但是高分段降低的幅度超过了20分,那么,既然超过20分的分数,那就是只能说明,山东的题目今年还是考生不适应,感觉难度大一些,不过,比较好的就是报志愿的话就是中等层次学生多,比较好有可能报一些好的院校的普通专业。

福建的也都出来了,看起来就还是文科高的有点多,但是理科高分段的考生人数多,文科的这个线也不太低的,说明还是今年可能这些省份已经适应了新高考,就基本上可以根据实际的自己的选考科目,能达到最高分数的去冲刺,所以今年福建依然还是历史类的分数还是比纯理科的分数高不少,不过和去年比较,是平稳的,不用太多想,稳中报志愿就是了。


这个是这样,这个相当于就是普通的本科线基本就是这个数,每年浙江的分数也没有说有一个大的调整,但是,今年实际上降的还是比较的明显一些了,还是中分段的人数并不太多。高分段的学生还是能力很强,因为我看589分才能够去特殊类型。
所以,实际上浙江的分数并没有说特别的低,像普通类一段线的话,这种本科线虽然下降了小幅度波动,但是真心这个分数可是非常的不好报志愿的,因为高分段人数可是不少,所以说就是中分段考生在填报志愿的时候比较谨慎一些。